ГОСТ 15591-70 Болт с шестигранной уменьшенной головкой
Характеристики / Таблица параметров / Купить
| Тип изделия: | Болты и винты |
| Направление: | машиностроительный крепеж |
| Тип номенклатуры: | болты |
| Тип материала: | 1.4310 / 12X18H10T / Ms (латунь) / Steel (сталь) |
| Тип покрытия: | Zn (цинк) / без покрытия |
| Класс прочности/твердость: | 5.8 / 8.8 |
| Форма: | 2 / 3 |
| Тип резьбы: | метрическая |
| Вид упаковки: | шт |
| Цена: | от 286,71 руб. / шт |
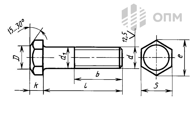
Болт ГОСТ 15591-70 с шестигранной уменьшенной головкой обладает направляющим подголовком. Класс точности изделия - С. Материал сталь или латунь. Стальные болты могут быть покрыты цинком. Резьба метрическая. Звоните и заказывайте оптом.
| Номинальный диаметр резьбы d | 6 | 8 | 10 | 12 | 14 | 16 | 18 | 20 | 22 | 24 | 27 | 30 | 36 | 42 | 48 |
| Шаг резьбы | 1 | 1,25 | 1,5 | 1,75 | 2 | 2 | 2,5 | 2,5 | 2,5 | 3 | 3 | 3,5 | 4 | 4,5 | 5 |
| Диаметр подголовка d₁ не менее | 6 | 8 | 10 | 12 | 14 | 16 | 18 | 20 | 22 | 24 | 27 | 30 | 36 | 42 | 48 |
| Высота подголовка h, не менее | 3 | 4 | 5 | 6 | 7 | 8 | 9 | 10 | 11 | 12 | 14 | 15 | 18 | 21 | 24 |
| Размер «под ключ» S | 10 | 12 | 14 | 17 | 19 | 22 | 24 | 27 | 30 | 32 | 36 | 41 | 50 | 60 | 70 |
| Высота головки k | 4 | 5 | 6 | 7 | 8 | 9 | 10 | 11 | 12 | 13 | 15 | 17 | 20 | 23 | 26 |
| Высота головки k₁ | 4,2 | 5,3 | 6,4 | 7,5 | 8,8 | 10 | 12 | 12,5 | 14 | 15 | 17 | 18,7 | 22,5 | 26 | 30 |
| Диаметр описанной окружности e, не менее | 10,9 | 13,1 | 15,3 | 18,7 | 20,9 | 23,9 | 26,2 | 29,6 | 33 | 35 | 39,6 | 45,2 | 55,4 | 66,4 | 76,9 |
| dw, не менее | 8,7 | 10,5 | 12,5 | 15,5 | 17,2 | 20,1 | 22 | 24,8 | 27,7 | 29,5 | 33,2 | 38 | 46,6 | 55,9 | 64,7 |
| hw не менее | 0,15 | 0,15 | 0,15 | 0,15 | 0,15 | 0,2 | 0,2 | 0,2 | 0,2 | 0,2 | 0,2 | 0,2 | 0,2 | 0,25 | 0,25 |
| hw не более | 0,6 | 0,6 | 0,6 | 0,6 | 0,6 | 0,8 | 0,8 | 0,8 | 0,8 | 0,8 | 0,8 | 0,8 | 0,8 | 0,8 | 0,8 |
| Диаметр отверстия в стержне ds | 1,6 | 2 | 2,5 | 3,2 | 3,2 | 4 | 4 | 4 | 5 | 5 | 5 | 6,3 | 6,3 | 6,3 | 8 |
| Диаметр отверстия в головке do Н15 | 2 | 2,5 | 2,5 | 3,2 | 3,2 | 4 | 4 | 4 | 4 | 4 | 4 | 4 | 4 | 5 | 5 |
| Расстояние от опорной поверхности до оси отверстия в головке lo js 15 | 2 | 2,8 | 3,5 | 4 | 4,5 | 5 | 6 | 6,5 | 7 | 7,5 | 8,5 | 9,5 | 11,5 | 13 | 15 |
| Длина резьбы b и расстояние от опорной поверхности головки до оси отверстия в стержне l₁ при номинальном диаметре резьбы d | ||||||||||||||||||||||||||||||
| (знаком × отмечены болты с резьбой по всей длине стержня) | ||||||||||||||||||||||||||||||
| Длина болта | 6 | 8 | 10 | 12 | 14 | 16 | 18 | 20 | 22 | 24 | 27 | 30 | 36 | 42 | 48 | |||||||||||||||
| l₁ | b | l₁ | b | l₁ | b | l₁ | b | l₁ | b | l₁ | b | l₁ | b | l₁ | b | l₁ | b | l₁ | b | l₁ | b | l₁ | b | l₁ | b | l₁ | b | l₁ | b | |
| 8 | × | × | ||||||||||||||||||||||||||||
| 10 | × | × | × | |||||||||||||||||||||||||||
| 12 | × | × | × | |||||||||||||||||||||||||||
| 14 | 10 | × | × | × | × | |||||||||||||||||||||||||
| 16 | 12 | × | 12 | × | × | × | × | |||||||||||||||||||||||
| 18 | 14 | × | 14 | × | 14 | × | × | × | × | |||||||||||||||||||||
| 20 | 16 | × | 16 | × | 16 | × | 15 | × | × | × | × | |||||||||||||||||||
| 22 | 18 | 18 | 18 | × | 18 | × | 17 | × | 17 | × | × | × | ||||||||||||||||||
| 25 | 21 | 18 | 21 | × | 21 | × | 20 | × | 20 | × | 19 | × | × | × | ||||||||||||||||
| 28 | 24 | 18 | 24 | × | 24 | × | 23 | × | 23 | × | 22 | × | 22 | × | × | |||||||||||||||
| 30 | 26 | 18 | 26 | 22 | 26 | × | 25 | × | 25 | × | 24 | × | 24 | × | 24 | × | × | |||||||||||||
| 32 | 28 | 18 | 28 | 22 | 28 | 26 | 27 | × | 27 | × | 26 | × | 26 | × | 26 | × | 25 | × | × | |||||||||||
| 35 | 31 | 18 | 31 | 22 | 31 | 26 | 30 | 30 | 30 | × | 29 | × | 29 | × | 29 | × | 28 | × | 28 | × | × | |||||||||
| 38 | 34 | 18 | 34 | 22 | 34 | 26 | 33 | 30 | 33 | × | 32 | × | 32 | × | 32 | × | 31 | × | 31 | × | × | |||||||||
| 40 | 36 | 18 | 36 | 22 | 36 | 26 | 35 | 30 | 35 | 34 | 34 | × | 34 | × | 34 | × | 33 | × | 33 | × | 32 | × | × | |||||||
| 45 | 41 | 18 | 41 | 22 | 41 | 26 | 40 | 30 | 40 | 34 | 39 | 38 | 39 | × | 39 | × | 38 | × | 38 | × | 37 | × | 36 | × | ||||||
| 50 | 46 | 18 | 46 | 22 | 46 | 26 | 45 | 30 | 45 | 34 | 44 | 38 | 44 | 42 | 44 | × | 43 | × | 43 | × | 42 | × | 41 | × | 40 | × | ||||
| 55 | 51 | 18 | 51 | 22 | 51 | 26 | 50 | 30 | 50 | 34 | 49 | 38 | 49 | 42 | 49 | 46 | 48 | × | 48 | × | 47 | × | 46 | × | 45 | × | × | |||
| 60 | 56 | 18 | 56 | 22 | 56 | 26 | 55 | 30 | 55 | 34 | 54 | 38 | 54 | 42 | 54 | 46 | 53 | 50 | 53 | × | 52 | × | 51 | × | 50 | × | 48 | × | ||
| 65 | 61 | 18 | 61 | 22 | 61 | 26 | 60 | 30 | 60 | 34 | 59 | 38 | 59 | 42 | 59 | 46 | 58 | 50 | 58 | 54 | 57 | × | 56 | × | 55 | × | 53 | × | × | |
| 70 | 66 | 18 | 66 | 22 | 66 | 26 | 65 | 30 | 65 | 34 | 64 | 38 | 64 | 42 | 64 | 46 | 63 | 50 | 63 | 54 | 62 | 60 | 61 | × | 60 | × | 58 | × | 58 | × |
| 75 | 71 | 18 | 71 | 22 | 71 | 26 | 70 | 30 | 70 | 34 | 69 | 38 | 69 | 42 | 69 | 46 | 68 | 50 | 68 | 54 | 67 | 60 | 66 | 66 | 65 | × | 63 | × | 63 | × |
| 80 | 76 | 18 | 76 | 22 | 76 | 26 | 75 | 30 | 75 | 34 | 74 | 38 | 74 | 42 | 74 | 46 | 73 | 50 | 73 | 54 | 72 | 60 | 71 | 66 | 70 | × | 68 | × | 68 | × |
| 85 | 81 | 18 | 81 | 22 | 81 | 26 | 80 | 30 | 80 | 34 | 79 | 38 | 79 | 42 | 79 | 46 | 78 | 50 | 78 | 54 | 77 | 60 | 76 | 66 | 75 | × | 73 | × | 73 | × |
| 90 | 86 | 18 | 86 | 22 | 86 | 26 | 85 | 30 | 85 | 34 | 84 | 38 | 84 | 42 | 84 | 46 | 83 | 50 | 83 | 54 | 82 | 60 | 81 | 66 | 80 | 78 | 78 | × | 78 | × |
| 95 | 91 | 22 | 91 | 26 | 90 | 30 | 90 | 34 | 89 | 38 | 89 | 42 | 89 | 46 | 88 | 50 | 88 | 54 | 87 | 60 | 86 | 66 | 85 | 78 | 83 | × | 83 | × | ||
| 100 | 96 | 22 | 96 | 26 | 95 | 30 | 95 | 34 | 94 | 38 | 94 | 42 | 94 | 46 | 93 | 50 | 93 | 54 | 92 | 60 | 91 | 66 | 90 | 78 | 88 | × | 88 | × | ||
| 105 | 101 | 26 | 100 | 30 | 100 | 34 | 99 | 38 | 99 | 42 | 99 | 46 | 98 | 50 | 98 | 54 | 97 | 60 | 96 | 66 | 95 | 78 | 93 | 90 | 93 | × | ||||
| 110 | 106 | 26 | 105 | 30 | 105 | 34 | 104 | 38 | 104 | 42 | 104 | 46 | 103 | 50 | 103 | 54 | 102 | 60 | 101 | 66 | 100 | 78 | 98 | 90 | 98 | × | ||||
| 115 | 111 | 26 | 110 | 30 | 110 | 34 | 109 | 38 | 109 | 42 | 109 | 46 | 108 | 50 | 108 | 54 | 107 | 60 | 106 | 66 | 105 | 78 | 103 | 90 | 103 | 102 | ||||
| 120 | 116 | 26 | 115 | 30 | 115 | 34 | 114 | 38 | 114 | 42 | 114 | 46 | 113 | 50 | 113 | 54 | 112 | 60 | 111 | 66 | 110 | 78 | 108 | 90 | 108 | 102 | ||||
| 125 | 121 | 26 | 120 | 30 | 120 | 34 | 119 | 38 | 119 | 42 | 119 | 46 | 118 | 50 | 118 | 54 | 117 | 60 | 116 | 66 | 115 | 78 | 113 | 90 | 113 | 102 | ||||
| 130 | 126 | 32 | 125 | 36 | 125 | 40 | 124 | 44 | 124 | 48 | 124 | 52 | 123 | 56 | 123 | 60 | 122 | 66 | 121 | 72 | 120 | 84 | 118 | 96 | 118 | 108 | ||||
| 140 | 136 | 32 | 135 | 36 | 135 | 40 | 134 | 44 | 134 | 48 | 134 | 52 | 133 | 56 | 133 | 60 | 132 | 66 | 131 | 72 | 130 | 84 | 128 | 96 | 128 | 108 | ||||
| 150 | 146 | 32 | 145 | 36 | 145 | 40 | 144 | 44 | 144 | 48 | 144 | 52 | 143 | 56 | 143 | 60 | 142 | 66 | 141 | 72 | 140 | 84 | 138 | 96 | 138 | 108 | ||||
| 160 | 156 | 32 | 155 | 36 | 155 | 40 | 154 | 44 | 154 | 48 | 154 | 52 | 153 | 56 | 153 | 60 | 152 | 66 | 151 | 72 | 150 | 84 | 148 | 96 | 148 | 108 | ||||
| 170 | 166 | 32 | 165 | 36 | 165 | 40 | 164 | 44 | 164 | 48 | 164 | 52 | 163 | 56 | 163 | 60 | 162 | 66 | 161 | 72 | 160 | 84 | 158 | 96 | 158 | 108 | ||||
| 180 | 176 | 32 | 175 | 36 | 175 | 40 | 174 | 44 | 174 | 48 | 174 | 52 | 173 | 56 | 173 | 60 | 172 | 66 | 171 | 72 | 170 | 84 | 168 | 96 | 168 | 108 | ||||
| 190 | 186 | 32 | 185 | 36 | 185 | 40 | 184 | 44 | 184 | 48 | 184 | 52 | 183 | 56 | 183 | 60 | 182 | 66 | 181 | 72 | 180 | 84 | 178 | 96 | 178 | 108 | ||||
| 200 | 196 | 32 | 195 | 36 | 195 | 40 | 194 | 44 | 194 | 48 | 194 | 52 | 193 | 56 | 193 | 60 | 192 | 66 | 191 | 72 | 190 | 84 | 188 | 96 | 188 | 108 | ||||
| 220 | 215 | 49 | 215 | 53 | 214 | 57 | 214 | 61 | 214 | 65 | 213 | 69 | 213 | 73 | 212 | 79 | 211 | 85 | 210 | 97 | 208 | 109 | 208 | 121 | ||||||
| 240 | 235 | 49 | 235 | 53 | 234 | 57 | 234 | 61 | 234 | 65 | 233 | 69 | 233 | 73 | 232 | 79 | 231 | 85 | 230 | 97 | 228 | 109 | 228 | 121 | ||||||
| 260 | 255 | 49 | 255 | 53 | 254 | 57 | 254 | 61 | 254 | 65 | 253 | 69 | 253 | 73 | 252 | 79 | 251 | 85 | 250 | 97 | 248 | 109 | 248 | 121 | ||||||
| 280 | 275 | 53 | 274 | 57 | 274 | 61 | 274 | 65 | 273 | 69 | 273 | 73 | 272 | 79 | 271 | 85 | 270 | 97 | 268 | 109 | 268 | 121 | ||||||||
| 300 | 295 | 53 | 294 | 57 | 294 | 61 | 294 | 65 | 293 | 69 | 293 | 73 | 292 | 79 | 291 | 85 | 290 | 97 | 288 | 109 | 288 | 121 | ||||||||