DIN 80704 Гайка с поворотной рукояткой
Характеристики / Таблица параметров / Купить
| Тип изделия: | Гайки |
| Направление: | машиностроительный крепеж |
| Тип номенклатуры: | гайки |
| Тип материала: | A4 / Ms (латунь) |
| Тип покрытия: | без покрытия |
| Тип резьбы: | метрическая |
| Вид упаковки: | шт |
| Цена: | от 351,05 руб. / шт |
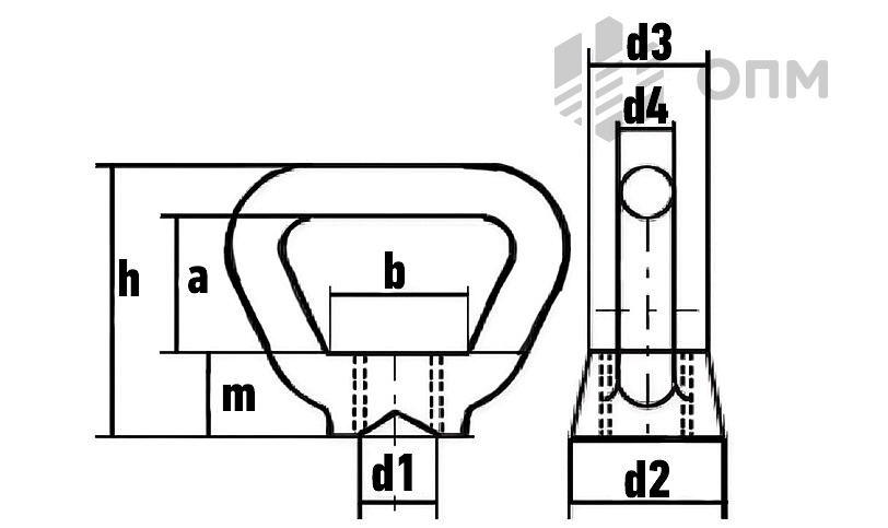
Гайка с поворотной рукояткой DIN 80704 имеет конусовидную форму. Обратив внимание на корпус, можно заметить шесть граней и петлю из металла. Чаще всего ее применяют в поднятии различной тяжести, грузов. Благодаря своей форме и функциональности, к гайке очень легко прикрепить канат или трос. Кроме того, применяют ее в различных сферах бытовой и промышленной деятельности, в строительстве. Также свое применение она получила в портах, в частности является неотъемлемым швартовочным элементом. Перед тем, как ее накрутили на шпильку или болт, груз крепят непосредственно на кольцо.
От параметров метиза зависит его грузоподъемность – это материал, из которого она изготовлена, а также диаметр резьбы. Во время работы нагрузки на данное изделие могут быть большими, поэтому выпускают гайки DIN 80704 из разных материалов: латунь, нержавеющая сталь А4 и А2, а также алюминий.
Изделия из вышеперечисленных материалов не подвержены коррозии, отлично переносят сырость и влагу, кроме того, обладают высокой кислотоскойкостью. Гайка может применяться в суровых погодных условиях и при перепадах температур.
Компания ОПМ занимается оптовой поставкой гайки DIN 80704 во все регионы России. Кроме того, доставка осуществляется в страны ближнего и дальнего зарубежья в кратчайшие сроки.
| d1 | a | b | c | d2 | d3 | d4 | h | m |
| M6 | 15 | 14 | 25 | 14 | 11,5 | 5 | 28 | 8 |
| M8 | 20 | 18 | 32 | 18 | 15 | 6,5 | 36 | 10 |
| M10 | 25 | 23 | 42 | 23 | 18 | 8 | 50 | 12 |
| M12 | 27 | 27 | 48 | 24 | 20 | 10 | 52 | 15 |
| M16 | 29 | 32 | 56 | 30 | 24 | 12 | 59 | 18 |
| M20 | 32 | 36 | 64 | 36 | 28 | 13 | 66 | 31 |
| M24 | 36 | 45 | 75 | 45 | 36 | 14 | 76 | 25 |