У вас отключен JavaScript! Некоторые функции сайта могут не работать.

BMW запатентовала винты с головкой в форме логотипа
Быстрый заказ
Объявление

Мы ищем сотрудников!

Подробнее

Скрыть объявление

Починить нельзя — оставить как памятник

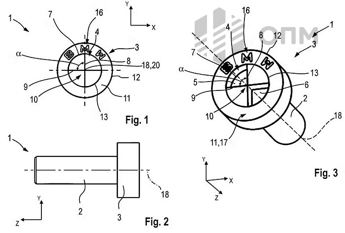
BMW существенно ограничивает возможности самостоятельного ремонта и обслуживания автомобилей. Компания запатентовала новый тип крепёжных винтов, отличительная черта которых — головка, выполненная в форме фирменного логотипа.

Ключевые последствия:

  1. Ограниченный доступ к инструментам. Такие винты невозможно открутить стандартными инструментами, которые обычно есть в распоряжении частных мастеров или независимых автосервисов.
  2. Монополия официальных дилеров. Винты будут доступны исключительно авторизованным сервисным центрам BMW, что фактически принуждает владельцев обращаться только к официальным дилерам.
  3. Ограничение ремонта в независимых сервисах. Независимые автомастерские, скорее всего, не смогут выполнять ряд ремонтных работ, требующих демонтажа соответствующих узлов.

Область применения патента:

Патентованная система крепежа распространяется на:

  • элементы салона автомобиля;
  • ключевые конструктивные узлы;
  • сиденья;
  • соединения элементов кузова.

Данное решение можно рассматривать как часть общей тенденции автопроизводителей к усилению контроля за постпродажным обслуживанием своих транспортных средств и не только. Это своего рода антивандальный крепеж, который будет способствовать также ограничению доступа посторонних лиц к узлам и агрегатам авто.

Особый тип винтов BMW
Наверх